A: REMOVAL
1. RADIO ANTENNA AMPLIFIER
1) Remove the rear quarter trim LH. <Ref. to EI-110, SEDAN MODEL, REMOVAL, Rear Quarter Trim.>
2) Remove the radio antenna amplifier assembly.

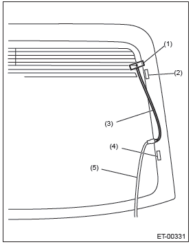
1) Remove the rear gate upper trim.

2) Remove the radio antenna amplifier assembly.

2. XM SATELLITE RADIO ANTENNA
1) Remove the roof trim. <Ref. to EI-131, REMOVAL, Roof Trim.>
2) Disconnect the harness connector and terminal, and remove the mounting nut (A).

3) Pull out the antenna from the roof top.
B: INSTALLATION
Install each part in the reverse order of removal.
Tightening torque:
Radio antenna amplifier: 12 N*m (1.22 kgf-m, 8.9 ft-lb)
XM satellite radio antenna: 4.5 N*m (0.46 kgf-m, 3.3 ft-lb)
C: INSPECTION
CAUTION: When wiping dirt off of the glass to avoid heat wire damage, be careful of the following.
Inspection method of antenna, it is different from printing pattern of antenna.

TYPE-A Printing pattern of grid
TYPE-B Printing pattern of straight
1. TYPE A
1) Disconnect the ground cable from battery.
2) Remove the trim.
Sedan model: Remove the rear quarter trim rear on both sides. <Ref. to EI-110, SEDAN MODEL, REMOVAL, Rear Quarter Trim.>
OUTBACK model: Remove the rear gate trim. <Ref. to EI-160, REMOVAL, Rear Gate Trim.>
3) Disconnect the antenna harness connector and antenna terminals.
4) Prepare the extension harness (A), (B).

5) Connect the extension harness (A) to rear defogger harness (power supply side) terminal and antenna terminal.

6) Connect the extension harness (B) to rear defogger harness (ground side) terminal.
7) Fasten the another side of extension harness (B) to end of antenna pattern of grid with tape.

8) Connect the ground cable to battery.
9) Turn the ignition switch to ON.
10) Turn the rear defogger switch to ON.
11) Wrap a piece of aluminum foil around the tip of tester probe and press foil against antenna wire with your finger.

12) Measure the voltage around an antenna wire (a) and (b).


NOTE:
Measuring point (a)
Measuring point (b)
13) Fasten the voltmeter positive (+) side and negative (-) side to end of open harness positive side of step 12).
14) Search a point the voltage changes from 0 V, and move the negative (-) probe along antenna wire slowly.

15) Repair the antenna wire if the place of the open circuit is identified. <Ref. to ET-29, REPAIR, Antenna.>
2. TYPE B
Measure the resistance between the antenna terminal and each antenna wire.

1) Disconnect the ground cable from battery.
2) Wrap a piece of aluminum foil around the tip of probe and press foil against antenna wire with your finger.

3) To locate the broken point, move the probe along antenna wire.

NOTE: If an antenna wire is OK, resistance will be less than 20 Ω.
If an antenna wire is broken, resistance will be more than 1 MΩ.
4) Repair the antenna wire if the place of the open circuit is identified. <Ref. to ET-29, REPAIR, Antenna.>
D: REPAIR
1) Clean the external circumference of antenna wire and around with alcohol or white gasoline.
2) Paste a thin masking film on the glass along broken wire.
3) Apply the conductive silver composition (DUPONT No. 4817) on the broken portion with a drawing pen.

4) Dry out the deposited portion.
5) After repair has been completed, measure the resistance in repaired wire.
Noise Suppressor
A: REMOVAL
1. SEDAN MODEL
1) Disconnect the ground cable from battery.
2) Remove the rear shelf trim. <Ref. to EI-120, REMOVAL, Rear Shelf Trim.>
3) Remove the noise suppressor.

2. OUTBACK MODEL
1) Disconnect the ground cable from battery.
2) Remove the rear gate trim. <Ref. to EI-160, REMOVAL, Rear Gate Trim.>
3) Remove the noise suppressor.

B: INSTALLATION
Install each part in the reverse order of removal.
Tightening torque:
Noise suppressor: 12 N*m (1.22 kgf-m, 8.9 ft-lb)
Steering Satellite Switch
GPS Antenna
Rearview Camera System
MT Gear Select Cable
DTC P0171, P0172, P0181, P0182, P0183, P0196, P0197, P0198, P0201, P0202,
P0203, P0204, P0222, P0223, P0301, P0302, P0303, P0304