A: REMOVAL
1) Disconnect the ground cable from battery.
2) Remove the V-belts. <Ref. to ME(H4SO)-43, REMOVAL, V-belt.>
3) Remove the power steering oil pump assembly.
CAUTION:


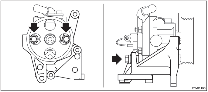
4) Secure the oil pump bracket in a vise, and remove the bolts from both front and rear sides of the oil pump.
CAUTION: When securing the oil pump bracket in a vice, hold the oil pump bracket with the least possible force between two pieces of wood.

5) Remove the power steering oil pump assembly from the bracket.
B: INSTALLATION
1) Install the bracket to the power steering oil pump.

Tightening torque:
T1: 16 N*m (1.63 kgf-m, 11.8 ft-lb)
T2: 36 N*m (3.67 kgf-m, 26.6 ft-lb)
2) Install the power steering pump bracket.
Tightening torque:
H4 model: 22 N*m (2.24 kgf-m, 16.2 ft-lb)
H6 model: 33 N*m (3.36 kgf-m, 24.3 ft-lb)
3) Connect the pressure hose (b) and suction hose (a).
CAUTION: Be careful when installing; If the hose is twisted it may come into contact with other parts.

Tightening torque: Eye bolt: 40 N*m (4.08 kgf-m, 29.5 ft-lb)
4) Connect the power steering pump switch to the connector.
5) After installing the oil pump, fill the oil pump with as much fluid as possible by rotating the pulley by hand.
CAUTION: Always fill the oil pump with the fluid to prevent abnormal noise and seizure of the oil pump.
6) Install the V-belts. <Ref. to ME(H4SO)-43, INSTALLATION, V-belt.>
7) Connect the battery ground terminal.
8) Fill with recommended power steering fluid and perform air bleeding. <Ref. to PS-77, Power Steering Fluid.>
CAUTION: Never start the engine before filling with fluid; otherwise the vane pump may become seized.
C: INSPECTION
1. BASIC INSPECTION
Perform the following inspection procedures and replace any faulty parts.

2. SERVICE LIMIT
Make a measurements as follows. If it exceeds the service limit, replace with a new part.
CAUTION:
1) Play of the pulley shaft
Condition:
P: When applying a force of 9.8 N (1.0 kgf, 2.2 lbf)
Service limit:
Play in the radial direction (Direction
):0.2 mm (0.008 in) or less
Axial play (Direction
):0.9 mm (0.035 in) or less

2) Deflection of the pulley groove
Service limit: 1.0 mm (0.039 in) or less
NOTE: Read the value on one surface of V groove, set the dial gauge on the other surface, and read the value of the dial gauge.

3) Rotating resistance of pulley
Service limit: Maximum load: 9.22 N (0.94 kgf, 2.07 lbf) or less
NOTE:

3. HYDRAULIC PRESSURE
CAUTION:
Regular pressure measurement
1) Connect the ST1, ST2 and ST3.
PREPARATION TOOL:
ST1: PRESSURE GAUGE (925711000)
ST2: ADAPTER HOSE B (34099AC020)
ST3: ADAPTER HOSE A (34099AC010)

2) Remove the air intake duct.
3) Disconnect the pressure hose (a) from the pump.
4) Using the gasket (Part No. 34621AC021) and bolt (Part No. 34620AC010), install the ST2 to pump instead of pressure hose (a).

5) Attach the ST3 to the end of pressure hose which is removed from pump.
6) Replenish power steering fluid up to the specified level.
7) Open the valve, and start the engine.

8) Measure the regular pressure.
Service limit: 981 kPa (10 kgf/cm2, 142 psi) or less
9) If it is not within the specification, replace the faulty part for the following problems. (Pipe or hose clogged, leaks from fluid line, and mixture of foreign matter in fluid line)
Relief pressure measurement
1) Attach ST1, ST2 and ST3 to the vehicle body in the same way as for regular pressure measurement.
PREPARATION TOOL:
ST1: PRESSURE GAUGE (925711000)
ST2: ADAPTER HOSE B (34099AC020)
ST3: ADAPTER HOSE A (34099AC010)

2) Close the valve.
3) Measure the relief pressure.
Service limit:
H4 non-turbo model: 8,300 - 9,000 kPa (85 - 92 kgf/cm2, 1,203 - 1,305 psi)
H6, H4 turbo model: 8,900 - 9,600 kPa (91 - 98 kgf/cm2, 1,290 - 1,392 psi)
4) If the torque is not within specified range, replace the oil pump.
Working pressure measurement
1) Attach ST1, ST2 and ST3 to the vehicle body in the same way as for regular pressure measurement.
PREPARATION TOOL:
ST1: PRESSURE GAUGE (925711000)
ST2: ADAPTER HOSE B (34099AC020)
ST3: ADAPTER HOSE A (34099AC010)

2) Open the valve.
3) Measure the working pressure of control valve by turning steering wheel from stop to stop.
Service limit:
H4 non-turbo model: 8,300 - 9,000 kPa (85 - 92 kgf/cm2, 1,203 - 1,305 psi)
H6, H4 turbo model: 8,900 - 9,600 kPa (91 - 98 kgf/cm2, 1,290 - 1,392 psi)
4) If it is out of specification, measure the steering effort. <Ref. to PS-82, MEASUREMENT OF STEERING EFFORT, INSPECTION, General Diagnostic Table.>
If the steering wheel effort is not within specification, replace the control valve itself or control valve and pinion as a single unit, using new parts.
Reservoir Tank
A: REMOVAL
1) Drain fluid from the reservoir tank.
2) Disconnect the hose from reservoir tank.
CAUTION: Plug the ends of the hose and pipe to prevent foreign matter from entering.
3) Remove the reservoir tank from the body.

B: INSTALLATION
1) Install the reservoir tank to the body.
Tightening torque: 13 N*m (1.33 kgf-m, 9.6 ft-lb)
2) Connect the hose to the reservoir tank.

3) Replenish power steering fluid up to the specified level. <Ref. to PS-77, INSPECTION, Power Steering Fluid.>
C: INSPECTION
Check the reservoir tank for cracks, breakage or damage. If a failure is found, replace the reservoir tank.
Power Steering Fluid
A: SPECIFICATION
Recommended power steering fluid: SUBARU ATF or DEXRON III
B: INSPECTION
1) Check the power steering fluid for deterioration or contamination. If the fluid is highly deteriorated or contaminated, drain it and refill with new fluid.
2) Check the joints and units for oil leakage. If any oil leaks are found, repair or replace the applicable part.
3) Inspect the fluid level of reservoir tank with vehicle on level surface and engine stopped.
If the level is at "MIN." point or below, add fluid to keep the level in the specified range of the indicator. If at "MAX". point or above, drain fluid by using a syringe or the like.

C: REPLACEMENT
1) Lift up the vehicle.
2) Drain the power steering fluid.
3) Add the specified fluid to reservoir tank at "MAX" level.
4) Continue to turn the steering wheel slowly from lock to lock until the bubbles stop appearing on oil surface while keeping the fluid at the level in the Step 3).
5) If the steering wheel is turned in a low fluid level condition, air will be sucked into the pipe. If air has entered, leave it for about half an hour and then repeat step 4) again.
6) Start the engine and let it idle.
7) Continue to turn the steering wheel slowly from lock to lock again until the bubbles stop appearing on oil surface, while keeping the fluid at the level in Step 3).
Normally bubbles will stop appearing after turning the steering wheel from lock to lock three times.
8) In case bubbles do not stop appearing in the tank, leave it for about half an hour and then repeat from step 3) again.
9) Lower the vehicle, and then idle the engine.
10) Continue to turn the steering wheel from lock to lock until the bubbles stop appearing and change of the fluid level is within 3 mm (0.12 in).
11) In case the following happens, leave it about half an hour and then perform step 7) to 10) again.
12) Check the fluid leakage after turning steering wheel from lock to lock with engine running.
General Diagnostic Table
A: INSPECTION

*1 If the tires or wheels are wider than standard, the load to power steering system is increased. Accordingly, in a condition, for example before fluid warms-up, relief valve may work before reaching maximum turning angle. In this case, steering effort may be heavy. When the measured hydraulic pressure is normal, there is no abnormal thing.
*2 In cold weather, steering effort may be heavy due to increased flow resistance of cold fluid. After warming-up engine, turn the steering wheel from stop to stop several times to warm up fluid. If steering effort reduces normally, function is normal.
*3 In cold weather or with insufficient warm up of the engine, steering effort may be heavy due to excessive drop of idling when turning the steering wheel. In this case, start the vehicle with increasing engine speed than usual. If steering effort reduces normally, function is normal.
1. NOISE AND VIBRATION
CAUTION: Do not keep the relief valve operated for five seconds or more at any time or inner parts of the oil pump may be damaged due to rapid increase of fluid temperature.
NOTE:
Hydraulic systems are likely to generate this kind of vibration as well as working noise and fluid noise because of combined conditions, i.e., road surface and tire surface, engine speed and turning speed of steering wheel, fluid temperature and braking condition.
These conditions do not indicate a problem in the system.
Confirm vibration for an AT model, by applying the parking brake on a concrete surface, shifting into the "D" range, and turning the steering wheel repeatedly from slow to rapid, step by step.


2. MEASUREMENT OF STEERING EFFORT


General Description of Heater, Ventilator, A/C
Front Differential Assembly in Continuously Variable Transmission
Remote transmitter program