A: REMOVAL
1) Remove the transmission from the vehicle. <Ref. to CVT-55, REMOVAL, Automatic Transmission Assembly.>
2) Remove the extension case. <Ref. to CVT-138, REMOVAL, Extension Case.>
3) Remove the rear drive shaft. <Ref. to CVT-141, REMOVAL, Rear Drive Shaft.>
4) Remove the transfer clutch assembly. <Ref. to CVT-146, REMOVAL, Transfer Clutch.>
5) Remove the transfer reduction driven gear assembly. <Ref. to CVT-158, REMOVAL, Transfer Reduction Driven Gear.>
6) Remove the intermediate case. <Ref. to CVT-165, REMOVAL, Intermediate Case.>
7) Remove the forward clutch assembly. <Ref. to CVT-180, REMOVAL, Forward Clutch Assembly.>
8) Remove the snap ring.

9) Remove the reduction driven gear assembly.

10) Remove the straight pin.

B: INSTALLATION
1) Install the straight pin to reduction driven gear assembly.

2) Fit the straight pin portion to the recess portion of transmission case and install the reduction driven gear and install the snap ring.

3) Select the snap ring. <Ref. to CVT-205, ADJUSTMENT, Reduction Driven Gear.>
4) Replace with the selected snap ring.
NOTE: If the clearance measured in step 3) is within standard, the snap ring replacement is not necessary.
5) Install the forward clutch assembly. <Ref. to CVT-181, INSTALLATION, Forward Clutch Assembly.>
6) Install the intermediate case. <Ref. to CVT-166, INSTALLATION, Intermediate Case.>
7) Install the transfer reduction driven gear assembly. <Ref. to CVT-158, INSTALLATION, Transfer Reduction Driven Gear.>
8) Install the transfer clutch assembly. <Ref. to CVT-147, INSTALLATION, Transfer Clutch.>
9) Install the rear drive shaft. <Ref. to CVT-141, INSTALLATION, Rear Drive Shaft.>
10) Install the extension case. <Ref. to CVT-138, INSTALLATION, Extension Case.>
11) Install the transmission to vehicle. <Ref. to CVT-70, INSTALLATION, Automatic Transmission Assembly.>
C: DISASSEMBLY
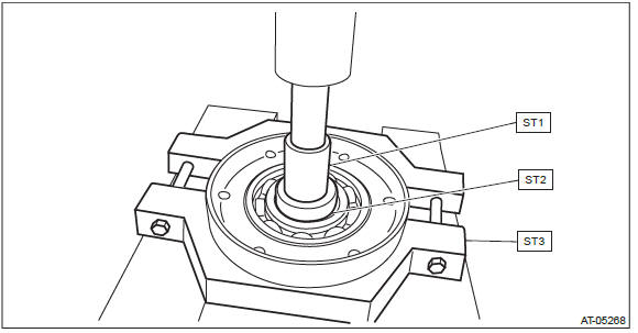
1) Remove the bearing retainer using ST1, ST2 and ST3.
ST1 899864100 REMOVER
ST2 398497701 SEAT
ST3 18767AA000 BEARING REMOVER

2) Remove the snap ring.

3) Remove the ball bearing using ST1, ST2 and ST3.
ST1 899864100 REMOVER
ST2 398497701 SEAT
ST3 498077600 REMOVER

D: ASSEMBLY
1) Using the ST, install the ball bearing to bearing retainer.
ST 398177700 INSTALLER
NOTE:

2) Using the ST, install the reduction driven gear.
ST 499277200 INSTALLER

E: INSPECTION
F: ADJUSTMENT
1) Measure clearance "A" between snap ring and transmission case.
Specification: 0.05 - 0.25 mm (0.002 - 0.01 in)

2) If clearance "A" is out of standard, select the snap ring within standard.

 Continuously Variable Transmission Control Device
 Continuously Variable Transmission Control Device
	 Primary Pulley and Secondary Pulley
 Primary Pulley and Secondary Pulley
	 Drive Pinion Shaft Assembly in Continuously Variable Transmission
 Drive Pinion Shaft Assembly in Continuously Variable Transmission
	 Outside temperature indicator
 Outside temperature indicator
	 Defogger and deicer
 Defogger and deicer