A: REMOVAL
1) Remove the manual transmission assembly from the vehicle. <Ref. to 6MT-25, REMOVAL, Manual Transmission Assembly.>
2) Remove the transfer case together with the extension case assembly. <Ref. to 6MT-40, REMOVAL, Transfer Case and Extension Case Assembly.>
3) Remove the transmission case. <Ref. to 6MT- 57, REMOVAL, Transmission Case.>
4) Remove the drive pinion shaft assembly. <Ref. to 6MT-67, REMOVAL, Drive Pinion Shaft Assembly.>
5) Remove the main shaft assembly for single-range.
B: INSTALLATION
1) Install the needle bearing and oil seal to the front of the transmission single-range main shaft assembly.
NOTE:
2) Rotate the reverse idler sub gear by two teeth from free status to make it engage with the reverse gear of the main shaft and install the main shaft assembly.

CAUTION:
Make sure to remove the wire.
3) Align the transmission case knock pin into the knock pin hole of the needle bearing outer race.
NOTE:


4) Install the drive pinion shaft assembly. <Ref. to 6MT-67, INSTALLATION, Drive Pinion Shaft Assembly.>
5) Install the transmission case. <Ref. to 6MT-58, INSTALLATION, Transmission Case.>
6) Install the transfer case together with the extension case assembly. <Ref. to 6MT-40, INSTALLATION, Transfer Case and Extension Case Assembly.>
7) Install the manual transmission assembly to the vehicle. <Ref. to 6MT-29, INSTALLATION, Manual Transmission Assembly.>
C: DISASSEMBLY
NOTE:
1) Put vinyl tape around main shaft spline to protect the oil seal from damage. Then pull out the oil seal and needle bearing by hand.
2) Flatten the tab of the lock nut.
3) Remove the lock nut from transmission main shaft assembly for single-range.
ST1 498937000 TRANSMISSION HOLDER
ST2 499987003 SOCKET WRENCH (35)

4) Remove the 6th drive gear and ball bearing using the ST1, ST2 and a press.
ST1 899864100 REMOVER
ST2 18722AA000 REMOVER

5) Remove the needle bearing, 6th baulk ring and 5th-6th coupling sleeve.
6) Remove the 5th drive gear, 6th needle bearing race, 5th baulk ring, 5th-6th synchronizer hub and needle bearing using the ST1, ST2 and a press.
ST1 899864100 REMOVER
ST2 18722AA000 REMOVER

7) Shift the 3rd-4th coupling sleeve into 3rd, then remove the 4th drive gear, taper roller bearing and 5th needle bearing race using the ST1, ST2 and a press.
ST1 899864100 REMOVER
ST2 899714110 REMOVER

8) Remove the 4th gear thrust washer, 4th baulk ring, needle bearing and 3rd-4th coupling sleeve.
9) Remove the 3rd drive gear, 4th needle bearing race, 3rd-4th synchronizer hub, inner baulk ring, 3rd synchro cone, outer baulk ring and needle bearing using the ST1, ST2 and a press.
ST1 899864100 REMOVER
ST2 899714110 REMOVER

D: ASSEMBLY
1) When the sleeve & hub assemblies have been disassembled, reassemble by aligning the alignment marks.
NOTE: Position the open ends of the spring 120º apart.

2) Install the needle bearing, 3rd drive gear, outer baulk ring, 3rd synchro cone, inner baulk ring and 3rd-4th synchronizer hub on the transmission main shaft.
NOTE: Align the groove in baulk ring with the shifting insert.

3) Install the 4th needle bearing race onto transmission main shaft using ST1, ST2, ST3 and a press.
CAUTION: Do not apply a load in excess of 10 kN (1 ton, 1.1 US ton, 1.0 Imp ton).
ST1 899714110 REMOVER
ST2 499877000 RACE 4-5 INSTALLER
ST3 398177700 INSTALLER

4) Install the 3rd-4th coupling sleeve, 4th baulk ring, needle bearing, 4th drive gear and 4th gear thrust washer to the transmission main shaft.
NOTE:


5) Install the double taper roller bearing into the rear section of transmission main shaft using ST1, ST2 and a press.
CAUTION: Do not apply a load in excess of 10 kN (1 ton, 1.1 US ton, 1.0 Imp ton).
NOTE: Install the double taper roller bearing with snap ring side facing the 5th drive gear side.
ST1 899714110 REMOVER
ST2 499877000 RACE 4-5 INSTALLER

6) Install the 5th needle bearing race into the rear section of transmission main shaft using ST1, ST2 and a press.
CAUTION: Do not apply a load in excess of 10 kN (1 ton, 1.1 US ton, 1.0 Imp ton).
ST1 899714110 REMOVER
ST2 499877000 RACE 4-5 INSTALLER

7) Install the needle bearing, 5th drive gear, 5th baulk ring, and 5th-6th synchronizer hub on the transmission main shaft.
NOTE:


8) Install the 6th needle bearing race onto transmission main shaft using ST1, ST2 and a press.
CAUTION: Do not apply a load in excess of 10 kN (1 ton, 1.1 US ton, 1.0 Imp ton).
ST1 899714110 REMOVER
ST2 499877000 RACE 4-5 INSTALLER

9) Install the 5th-6th coupling sleeve, 6th baulk ring, 6th drive gear and needle bearing on the transmission main shaft.
NOTE: Install the 5th-6th coupling sleeve with the short flange side facing the 5th drive gear.


10) Install the ball bearing onto transmission main shaft using ST2 and a press.
CAUTION: Do not apply a load in excess of 10 kN (1 ton, 1.1 US ton, 1.0 Imp ton).
NOTE: Install the ball bearing with the side which does not have lock nut mounting dent facing 6th drive gear.
ST1 899714110 REMOVER
ST2 899754112 PRESS

11) Tighten the lock nuts to the specified torque using ST1 and ST2.
NOTE: Lock nuts and lock washers must be replaced with new parts.
Tightening torque: 160 N*m (16.3 kgf-m, 118.0 ft-lb)
ST1 499987003 SOCKET WRENCH (35)
ST2 498937000 TRANSMISSION HOLDER

12) Crimp lock nuts in two locations after tightening.
E: INSPECTION
Disassembled parts should be washed with cleaning solvent first, then inspected carefully.
1) Bearing
Replace the bearings in the following cases.
2) Bushing (each gear)
Replace the bushing in following cases.
3) Gear
Replace gears in the following cases.
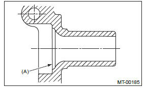
4) Baulk ring
Replace the baulk ring in the following cases.
Clearance (A): 0.5 mm (0.020 in) or more


5) Shifting insert key
Replace the insert key if deformed, excessively worn or defective in any way.

6) Coupling sleeve and synchronizer hub
7) Oil seal
Replace the oil seal if the lip is deformed, hardened, worn or defective in any way.
8) Gearshift mechanism
Repair or replace the gearshift mechanism if excessively worn, bent or defective in any way.
F: ADJUSTMENT
Selection of main shaft rear plate: Measure the protrusion amount (A) of ball bearing from transmission main case surface, and select a suitable plate in the following table.
NOTE: Before measuring, tap the end of main shaft with a plastic hammer lightly in order to make the clearance zero between the main case surface and moving flange of bearing.
ST 498147001 DEPTH GAUGE

 Drive Pinion Shaft Assembly in Manual Transmission
	
 Front Differential Assembly in Manual Transmission
	
 Reverse Idler Gear
	
 Front Door Glass
	
 Battery drainage prevention function