A: REMOVAL
1) Disconnect the ground cable from battery.
2) Lift up the vehicle.
3) Remove the center exhaust pipe and rear exhaust pipe. (non-turbo model) <Ref. to EX(H4SO)-8, REMOVAL, Center Exhaust Pipe.> <Ref. to EX(H4SO)-9, REMOVAL, Rear Exhaust Pipe.>
4) Remove the center exhaust pipe (rear) and rear exhaust pipe. (turbo model) <Ref. to EX(H4DOTC)-12, REMOVAL, Center Exhaust Pipe.> <Ref. to EX(H4DOTC)-15, REMOVAL, Rear Exhaust Pipe.>
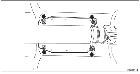
5) Remove the heat shield cover.

6) Remove the plate cable assembly.

7) Remove the spring at the MT gear shift cable by expanding it and pulling down, and remove the MT gear shift cable from the gear shift lever assembly.
CAUTION: Be careful not to deform the cable inner.

8) Remove the MT gear select cable from the gear shift lever assembly by pulling it in the direction of arrow in the figure.
CAUTION: Be careful not to deform the cable inner.

9) Remove the cover cable assembly.

10) Lower the vehicle.
11) Remove the gear shift knob.
12) Remove the console front cover assembly and console box. <Ref. to EI-73, REMOVAL, Console Box.>
13) Remove the bolts, and then remove the gear shift lever assembly from the vehicle.
NOTE: The MT gear shift lever cannot be disassembled.

B: INSTALLATION
1) Install the gear shift lever assembly.
Tightening torque: 18 N*m (1.8 kgf-m, 13.3 ft-lb)

2) Lift up the vehicle.
3) Install the cover cable assembly.
Tightening torque: 7.5 N*m (0.8 kgf-m, 5.5 ft-lb)

4) Connect the MT gear shift cable and MT gear select cable.
CAUTION:

5) Install the plate cable assembly.
Tightening torque: 7.5 N*m (0.8 kgf-m, 5.5 ft-lb)

6) Install the heat shield cover.
Tightening torque: 18 N*m (1.8 kgf-m, 13.3 ft-lb)

7) Install the center exhaust pipe and rear exhaust pipe. (non-turbo model) <Ref. to EX(H4SO)-8, INSTALLATION, Center Exhaust Pipe.> <Ref. to EX(H4SO)-9, INSTALLATION, Rear Exhaust Pipe.>
8) Install the center exhaust pipe (rear) and rear exhaust pipe. (turbo model) <Ref. to EX(H4DOTC)-13, INSTALLATION, Center Exhaust Pipe.> <Ref. to EX(H4DOTC)-15, INSTALLATION, Rear Exhaust Pipe.>
9) Lower the vehicle.
10) Install the console front cover assembly and the console box. <Ref. to EI-75, INSTALLATION, Console Box.>
11) Install the gear shift knob.
12) Make sure the gears can be shifted accurately into each gear. Adjust the MT gear select cable, if the gears cannot be shifted correctly. <Ref. to CS-95, ADJUSTMENT, MT Gear Select Cable.>
C: INSPECTION
1) Check for any deformed, damaged or worn part. Repair or replace as necessary compare the removed parts with new parts to check if there are damages or not.
2) Check that the lever cannot be moved to the reverse position unless the slider is pulled up.
3) Check that the lever can be moved to the reverse position when the slider is pulled up to maximum.
4) Check that the shift lever returns to the initial position when it is moved to "N" from the condition in 3).

MT Gear Shift Cable
MT Gear Select Cable
General Description of Clutch System
Understanding the ABS Warning Light in Your Subaru Outback (BR)