A: REMOVAL
The removal procedure for VA-type is included in "REMOVAL" for T-type. <Ref. to DI-26, REMOVAL, Rear Differential (T-type).>
B: INSTALLATION
The installation procedure for VA-type is included in "INSTALLATION" for T-type. <Ref. to DI-28, INSTALLATION, Rear Differential (T-type).>
C: DISASSEMBLY
1. VA1-TYPE
To detect the real cause of trouble, inspect the following items before disassembling.
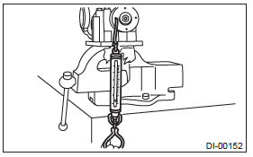
1) Set the ST on vise and install the differential assembly to ST.
ST 398217700 ATTACHMENT SET

2) Remove the drain plug and filler plug.
3) Remove the rear cover by removing retaining bolts.
NOTE: Remove it by tapping with a plastic hammer.

4) Remove the air breather cap.
NOTE:

5) Remove the lock plate RH and LH.

6) Remove the side retainer RH and LH with ST.
NOTE: When keeping the retainers aside, use labels etc. to avoid confusing the left and right.
ST 18630AA010 WRENCH COMPL RETAINER

7) Pull out the differential case assembly from differential carrier.
NOTE: Be careful not to hit the teeth of hypoid driven gear against the differential carrier.

8) Remove the bearing race from side retainer RH and LH with ST1 and ST2.
ST1 499705401 PULLER ASSY
ST2 499705404 SEAT

9) Remove the oil seal from the RH and LH side retainers using a screwdriver.
NOTE: Perform this operation only when changing oil seal.

10) Extract the bearing cone with ST1 and ST2.
NOTE:
ST1 899524100 PULLER SET
ST2 399520105 SEAT

11) Using the ST, loosen the hypoid driven gear bolt and remove the hypoid driven gear.
ST 18270KA020 SOCKET (E20)

12) Remove the spring pin from hypoid driven gear side using ST.
ST 899904100 STRAIGHT PIN REMOVER

13) Draw out the pinion mate shaft and remove pinion mate gears, side gears and thrust washers.
NOTE: The gears and washers should be marked with RH or LH, front or rear, or kept separately.

14) Remove the self-locking nut while securing the companion flange with ST.
ST 498427200 FLANGE WRENCH

15) Extract the companion flange with a puller.

16) Press the end of drive pinion shaft and extract it together with rear bearing cone, pinion height adjusting washer and washer by using the ST.
NOTE: Hold the drive pinion so as not to drop it.
ST 398467700 DRIFT

17) Remove the rear bearing cone from drive pinion by supporting the cone with ST.
NOTE: Place the replacer so that its center-recessed side faces the bearing cone.
ST 498515500 REPLACER

18) Remove the front oil seal from differential carrier using ST.
ST 398527700 PULLER ASSY

19) Remove the pilot bearing together with the front bearing cone and spacer using the ST.
ST 398467700 DRIFT

20) When replacing the bearings, hit out the front bearing cup and rear bearing cup in this order using a brass bar.

2. VA2-TYPE
To detect the real cause of trouble, inspect the following items before disassembling.
1) Set the ST on vise and install the differential assembly to ST.
ST 398217700 ATTACHMENT SET

2) Remove the drain plug and filler plug.
3) Remove the rear cover by removing retaining bolts.
NOTE: Remove it by tapping with a plastic hammer.

4) Remove the air breather cap.
NOTE:

5) Remove the lock plate RH and LH.

6) Remove the side retainer RH and LH with ST.
NOTE: When keeping the retainers aside, use labels etc. to avoid confusing the left and right.
ST 18630AA010 WRENCH COMPL RETAINER

7) Pull out the differential case assembly from differential carrier.
NOTE: Be careful not to hit the teeth of hypoid driven gear against the differential carrier.

8) Remove the bearing race from side retainer RH and LH with ST and the press.
NOTE:
ST 18758AA000 PULLER


9) Remove the oil seal from the RH and LH side retainers using a screwdriver.
NOTE: Perform this operation only when changing oil seal.

10) Extract the bearing cone with ST1, ST2 and ST3.
NOTE:
ST1 498077000 REMOVER
ST2 399520105 SEAT
ST3 899864100 REMOVER

11) Using the ST, loosen the hypoid driven gear bolt and remove the hypoid driven gear.
ST 18270KA020 SOCKET (E20)

12) Remove the spring pin from hypoid driven gear side using ST.
ST 899904100 STRAIGHT PIN REMOVER

13) Draw out the pinion mate shaft and remove pinion mate gears, side gears and thrust washers.
NOTE: The gears and washers should be marked with RH or LH, front or rear, or kept separately.

14) Remove the circlip from the side gear.

15) Remove the self-locking nut while securing the companion flange with ST.
ST 498427200 FLANGE WRENCH

16) Extract the companion flange using a puller.

17) Remove the drive pinion shaft.
18) Remove the rear bearing cone from drive pinion by supporting the cone with ST.
NOTE: Place the replacer so that its center-recessed side faces the bearing cone.
ST 398517700 REPLACER

19) Remove the front oil seal from differential carrier using screwdriver.
20) Remove the pilot bearing, front bearing cone and spacer.

21) When replacing the bearings, tap out the front bearing race and rear bearing race in this order using a brass bar to remove them.

D: ASSEMBLY
1. VA1-TYPE
NOTE:

1) Adjusting preload for front and rear bearings NOTE: Adjust the bearing preload between front and rear bearings with preload adjusting spacer and washer.
Pinion height adjusting washer is not affected by this adjustment. The adjustment must be carried out with oil seal removed.
ST1 398477701 HANDLE
ST2 398477702 DRIFT

ST1 398477701 HANDLE
ST2 498447110 DRIFT
NOTE: Use new front bearing cone.
NOTE: If tooth contact (drive pinion and hypoid driven gear) is normal in the inspection before disassembling, verify that the washer is not deformed, and then reuse the used washer.
NOTE: Use new rear bearing cone.
ST 498447150 DUMMY SHAFT
Part No. 32285AA000 Spacer

NOTE:
ST1 498447150 DUMMY SHAFT
ST2 398507704 BLOCK
Tightening torque: 191 N*m (19.5 kgf-m, 140.9 ft-lb)

Initial load: 12.7 - 32.2 N (1.3 - 3.3 kgf, 2.9 - 7.2 lbf)

Initial torque: 0.48 - 1.22 N*m (0.05 - 0.12 kgf-m, 0.35 - 0.90 ft-lb)


2) Adjusting drive pinion height: Adjust the drive pinion height with pinion height adjusting washer installed between the rear bearing cone and the back of pinion gear.
NOTE: At this time, install a provisionally selected or previously used pinion height adjusting washer.
ST1 498447150 DUMMY SHAFT
ST2 498505501 DIFFERENTIAL CARRIER
GAUGE
Part No. 32285AA000 Spacer

NOTE: Make sure there is no clearance between the differential carrier and ST2.
ST1 498447150 DUMMY SHAFT
ST2 498505501 DIFFERENTIAL CARRIER
GAUGE

NOTE: Adjust it using the 1 - 3 washers.
T = To + N - 0.05 mm (0.0020 in)

(Example of calculation)
To = 0.15 mm (0.0059 in)
N = 0.1 mm (0.0039 in)
T = 0.15 + 0.1 - 0.05 = 0.2 mm (0.0079 in)
Result: Thickness = 0.2 mm (0.0079 in)
Therefore use part number 32295AA220.

3) Install the selected pinion height adjusting washer on drive pinion, and press the rear bearing cone into position with ST.
ST 498175500 INSTALLER

4) Insert the drive pinion into the differential carrier, and install the preselected preload adjusting spacer and washer.

5) Press-fit the front bearing cone into the carrier with ST1, ST2 and the spacer.
ST1 399780104 WEIGHT
ST2 899580100 INSTALLER
Part No. 32285AA000 Spacer

6) Insert the spacer, then press-fit the pilot bearing with ST1 and ST2.
ST1 399780104 WEIGHT
ST2 899580100 INSTALLER

7) Using the ST, install the oil seal.
NOTE:
ST 498447120 INSTALLER

8) Press-fit the companion flange with ST1 and ST2.
NOTE: Be careful not to damage the pilot bearing.
ST1 899874100 INSTALLER
ST2 399780104 WEIGHT

9) Attach the self-locking nut and use the ST to fix the companion flange in place, then tighten the self-locking nut.
NOTE:
Seal material: THREE BOND 1324 (Part No. 004403042) or equivalent
Tightening torque: 191 N*m (19.5 kgf-m, 140.9 ft-lb)
ST 498427200 FLANGE WRENCH

10) Check the initial torque or initial load.
Initial load: 12.7 - 32.2 N (1.3 - 3.3 kgf, 2.9 - 7.2 lbf)

Initial torque: 0.48 - 1.22 N*m (0.05 - 0.12 kgf-m, 0.35 - 0.90 ft-lb)

11) Assembling differential case
NOTE:

Side gear backlash: 0.05 - 0.15 mm (0.002 - 0.006 in)


NOTE: Use new spring pin.
12) Install the hypoid driven gear to differential case.
NOTE:
Seal material: THREE BOND 1324 (Part No. 004403042) or equivalent
ST 18270KA020 SOCKET (E20)
Tightening torque: 20 N*m (2.0 kgf-m, 14.8 ft-lb)

Tightening angle: 35º+-2º
ST 18554AA000 ANGLE GAUGE

13) Using the ST, press-fit the side bearing to the differential case.
ST 498485400 DRIFT

14) Assemble the side retainer.
CAUTION: Pay attention to the left and right of the oil seal.
NOTE: Use a new oil seal.
ST 498447100 INSTALLER

CAUTION: Make sure that the bearing outer races and cones are properly assembled.
ST 398477702 DRIFT

NOTE: Be careful not to hit the teeth of hypoid driven gear against the differential carrier.

15) Perform the backlash adjustment between the hypoid driven gear and drive pinion, and preload adjustment of differential side bearing.
ST 498427200 FLANGE WRENCH

ST 18630AA010 WRENCH COMPL RETAINER

NOTE: Turn over the lock plate to shift the holder by 1/2 tooth.

NOTE: If measured value of backlash is not within the specified range, repeat the procedures for pinion driven gear set backlash adjustment and the differential side bearing preload adjustment.
Backlash: 0.10 - 0.15 mm (0.004 - 0.006 in)

16) Put alignment marks on both the differential carrier and side retainer. Remove the side retainers one side at a time. After installing an O-ring and applying oil to the threaded portion, restore them to the original position.

17) Install the lock plate, and tighten the bolts to the specified torque.
Tightening torque: 25 N*m (2.5 kgf-m, 18.4 ft-lb)

18) Recheck the backlash between hypoid driven gear and drive pinion.
Backlash: 0.10 - 0.15 mm (0.004 - 0.006 in)

19) Checking and adjusting the tooth contact of hypoid driven gear
NOTE: Be sure to wipe off the lead-free red dye completely after the adjustment is completed.
Check item: Tooth contact pattern is slightly shifted toward toe side under no-load rotation.
(When driving, it moves towards the heel side.)

Check item: Backlash is too large.
Contact pattern

Corrective action: Increase thickness of pinion height adjusting washer according to the procedure for bringing drive pinion close to hypoid driven gear side.

Check item: Backlash is too small.
Contact pattern

Corrective action: Reduce the thickness of pinion height adjusting washer according to the procedure for bringing drive pinion away from hypoid driven gear.

Check item: Teeth contact area is too small.
Contact pattern

Corrective action: Reduce the thickness of pinion height adjusting washer according to the procedure for bringing drive pinion away from hypoid driven gear side.

Check item: Teeth contact area is too small.
Contact pattern

Corrective action: Increase thickness of pinion height adjusting washer according to the procedure for bringing drive pinion close to hypoid driven gear side.

20) If correct tooth contact is not obtained, readjust the drive pinion height and the differential side bearing preload (already mentioned) and the hypoid gear backlash.
21) Install the gasket and rear cover to the differential carrier, and tighten the bolts to specified torque.
NOTE: Use a new gasket.
Tightening torque: 25 N*m (2.5 kgf-m, 18.4 ft-lb)

22) Install the air breather cap.
NOTE: When installing the air breather cap, do not tap section (A). Be sure to tap section (B) to install.

23) Install the drain plug.
NOTE: Use a new gasket.
Tightening torque: 50 N*m (5.1 kg-m, 36.9 ft-lb)
24) Install the filler plug.
NOTE: After installing the rear differential assembly to the vehicle, fill the gear oil, then use a new gasket, and tighten to the specified torque. <Ref. to DI-23, REPLACEMENT, Differential Gear Oil.>
2. VA2-TYPE
NOTE:

1) Adjusting preload for front and rear bearings
NOTE: Adjust the bearing preload between front and rear bearings with preload adjusting spacer and washer.
Pinion height adjusting washer is not affected by this adjustment. The adjustment must not be carried out with oil seal inserted.
ST1 398477701 HANDLE
ST2 398477703 DRIFT 2

ST 499277200 INSTALLER

NOTE: Use new front bearing cone.
NOTE: If tooth contact (drive pinion and hypoid driven gear) is normal in the inspection before disassembling, verify that the washer is not deformed, and then reuse the used washer.
NOTE: Use new rear bearing cone.
ST1 18678AA000 DUMMY SHAFT

NOTE:
ST1 18678AA000 DUMMY SHAFT
ST2 498427200 FLANGE WRENCH
Tightening torque: 191 N*m (19.5 kgf-m, 140.9 ft-lb)

Initial load: 12.7 - 32.2 N (1.3 - 3.3 kgf, 2.9 - 7.2 lbf)

Initial torque: 0.48 - 1.22 N*m (0.05 - 0.12 kgf-m, 0.35 - 0.90 ft-lb)


2) Adjusting drive pinion height: Adjust the drive pinion height with pinion height adjusting washer installed between the rear bearing cone and the back of pinion gear.
NOTE: At this time, install a provisionally selected or previously used pinion height adjusting washer.
ST1 18678AA000 DUMMY SHAFT
ST2 18831AA010 DIFFERENTIAL CARRIER
GAUGE


NOTE: Make sure there is no clearance between the differential carrier and ST2.
ST1 18678AA000 DUMMY SHAFT
ST2 18831AA010 DIFFERENTIAL CARRIER
GAUGE

NOTE: Adjust it using the 1 - 3 washers.
T = To + N - 0.05 mm (0.0020 in)

(Example of calculation)
To = 0.15 mm (0.0059 in)
N = 0.1 mm (0.0039 in)
T = 0.15 mm (0.0059 in) + 0.1 mm (0.0039 in) -
0.05 mm (0.0020 in) = 0.2 mm (0.0079 in)
Result: Thickness = 0.2 mm (0.0079 in)
Therefore use part number 32295AA370.

3) Install the selected pinion height adjusting washer on drive pinion, and press the rear bearing cone into position with ST.
ST 398177700 INSTALLER

4) Insert the drive pinion into the differential carrier, and install the preselected preload adjusting spacer and washer.

5) Set ST and differential carrier to the press and install the front bearing cone.
ST 399780104 WEIGHT NOTE: Set the carrier to the press until the companion flange is installed.

6) Insert the spacer, then install the pilot bearing.

7) Using the ST, install the oil seal.
NOTE:
ST 499277200 INSTALLER

8) Press-fit the companion flange with ST.
NOTE: Be careful not to damage the bearing.
ST 899874100 INSTALLER

9) Apply seal material on the drive pinion shaft thread and new self-locking nut seat.
Seal material: THREE BOND 1324 (Part No. 004403042) or equivalent
10) Install the self-locking nut while holding the companion flange with ST.
Tightening torque:
191 N*m (19.5 kgf-m, 140.9 ft-lb)
ST 498427200 FLANGE WRENCH

11) Check the initial torque or initial load.
Initial load: 12.7 - 32.2 N (1.3 - 3.3 kgf, 2.9 - 7.2 lbf)

Initial torque: 0.48 - 1.22 N*m (0.05 - 0.12 kgf-m, 0.35 - 0.90 ft-lb)

12) Assembling differential case

NOTE:

Side gear backlash: 0.13 - 0.18 mm (0.005 - 0.007 in)


NOTE: Use new spring pin.
13) Install the hypoid driven gear to differential case.
NOTE:
Seal material: THREE BOND 1324 (Part No. 004403042) or equivalent
ST 18270KA020 SOCKET (E20)
Tightening torque: 20 N*m (2.0 kgf-m, 14.8 ft-lb)

Tightening angle: 33º+-2º
ST 18554AA000 ANGLE GAUGE

14) Using the ST, press-fit the side bearing to the differential case.
ST 398487700 DRIFT

15) Assemble the side retainer.
NOTE: Use a new oil seal.
ST 498447100 INSTALLER

CAUTION: Make sure that the bearing outer races and cones are properly assembled.
ST 398417700 DRIFT

NOTE: Be careful not to hit the teeth of hypoid driven gear against the differential carrier.

16) Perform the backlash adjustment between the hypoid driven gear and drive pinion, and side bearing preload adjustment.
ST 498427200 FLANGE WRENCH

ST 18630AA010 WRENCH COMPL RETAINER

NOTE: Difference between [amount that the side retainer LH is turned back (approx. 1 and 1/2 teeth) ] and [amount that the side retainer RH is tightened (approx. 2 teeth) ] gives preload.
NOTE: Turn over the lock plate to shift the holder by 1/2 teeth.

NOTE: If measured value of backlash is not within the specified range, repeat the procedures for the backlash adjustment between hypoid driven gear and drive pinion, and the differential side bearing preload adjustment.
Backlash: 0.10 - 0.15 mm (0.004 - 0.006 in)

17) Put alignment marks on both the differential carrier and side retainer. Remove the side retainers one side at a time. After installing an O-ring and applying differential gear oil to the threaded portion, restore them to the original position.

18) Tighten the bolt of lock plate to specified torque.
Tightening torque: 25 N*m (2.5 kgf-m, 18.4 ft-lb)

19) Recheck the hypoid driven gear to pinion backlash.
Backlash: 0.10 - 0.15 mm (0.004 - 0.006 in)

20) Checking and adjusting the tooth contact of hypoid driven gear
NOTE: Be sure to wipe off the lead-free red dye completely after the adjustment is completed.
Check item: Tooth contact pattern is slightly shifted toward toe side under no-load rotation.
(When driving, it moves towards the heel side.)

Check item: Backlash is too large.
Contact pattern

Corrective action: Increase thickness of pinion height adjusting washer according to the procedure for bringing drive pinion close to hypoid driven gear side.

Check item: Backlash is too small.
Contact pattern

Corrective action: Reduce the thickness of pinion height adjusting washer according to the procedure for bringing drive pinion away from hypoid driven gear.

Check item: Teeth contact area is too small.
Contact pattern

Corrective action: Reduce the thickness of pinion height adjusting washer according to the procedure for bringing drive pinion away from hypoid driven gear.

Check item: Teeth contact area is too small.
Contact pattern

Corrective action: Increase thickness of pinion height adjusting washer according to the procedure for bringing drive pinion close to hypoid driven gear side.

21) If correct tooth contact is not obtained, readjust the drive pinion height and the differential side bearing preload (already mentioned) and the hypoid gear backlash.
22) Install the gasket and rear cover to the differential carrier, and tighten the bolts to specified torque.
NOTE: Use a new gasket.
Tightening torque: 34 N*m (3.5 kgf-m, 25.1 ft-lb)

23) Install the air breather cap.
NOTE: When installing the air breather cap, do not tap section (A). Be sure to tap section (B) to install.

24) Install the drain plug.
NOTE: Use a new gasket.
Tightening torque: 50 N*m (5.1 kgf-m, 36.9 ft-lb)
25) Install the filler plug.
NOTE: After installing the rear differential assembly to the vehicle, fill the gear oil, then use a new gasket, and tighten to the specified torque. <Ref. to DI-23, REPLACEMENT, Differential Gear Oil.>
E: INSPECTION
Wash all the disassembled parts clean, and examine them for wear, damage or other defects. Repair or replace the defective parts as necessary.
1) Hypoid driven gear and drive pinion
2) Side gear and pinion mate gear
3) Bearing
Replace if seizure, peeling, wear, rust, dragging during rotation, noise or other defect is evident.
4) Thrust washer of the side gear and pinion mate gear:
Replace if seized, flawed, abnormally worn or having other defects.
5) Oil seal
Replace if deformed or damaged, and at every disassembling.
6) Differential carrier
Replace if the bearing bores are worn or damaged.
7) Differential case
Replace if its sliding surfaces are abnormally worn, burned, or cracked.
8) Companion flange
Replace if the oil seal lip contact surface shows cracking.
1. SIDE GEAR BACKLASH
Using a dial gauge, check the backlash of side gear.
Side gear backlash:
VA1-type:
0.05 - 0.15 mm (0.002 - 0.006 in)
VA2-type:
0.13 - 0.18 mm (0.005 - 0.007 in)
If the side gear backlash is outside the specification range, select the side gear thrust washer and adjust the side gear backlash as specified.

2. HYPOID DRIVEN GEAR BACKLASH
Using a dial gauge, check the backlash of hypoid driven gear.
Hypoid driven gear backlash: 0.10 - 0.15 mm (0.004 - 0.006 in)
If the hypoid driven gear backlash is outside the specification range, adjust the side bearing preload and repair if necessary.

3. COMPANION FLANGE
1) If rust or dirt is attached to the companion flange, remove them.
2) Set a dial gauge at a companion flange surface (mating surface of propeller shaft and companion flange), and then measure the companion flange runout.
Limit of runout: 0.08 mm (0.003 in)

3) Set the gauge inside of the companion flange, and measure the runout.
Limit of runout: 0.08 mm (0.003 in)

4) If either runout exceeds the limit, move the phase of companion flange and drive pinion 90º each, and find the point where the runout is within the limit.
5) If the runout exceeds the limit even after changing the phase, replace the companion flange and recheck the runout.
6) If the runout exceeds the limit after replacing the companion flange, the drive pinion may be assembled incorrectly or bearing is faulty.
4. TOOTH CONTACT BETWEEN HYPOID DRIVEN GEAR AND DRIVE PINION
Inspect the tooth contact between the hypoid driven gear and drive pinion. <Ref. to DI-52, ASSEMBLY, Rear Differential (VA-type).>
F: ADJUSTMENT
1. SIDE GEAR BACKLASH
Adjust the side gear backlash. <Ref. to DI-52, ASSEMBLY, Rear Differential (VA-type).>
2. HYPOID DRIVEN GEAR BACKLASH
Adjust hypoid driven gear backlash. <Ref. to DI-52, ASSEMBLY, Rear Differential (VA-type).>
3. TOOTH CONTACT BETWEEN HYPOID DRIVEN GEAR AND DRIVE PINION
Adjust the tooth contact between hypoid driven gear and drive pinion gear. <Ref. to DI-52, ASSEMBLY, Rear Differential (VA-type).>
Rear Differential Front Oil
Seal
Rear Differential Mount Bushing
Transfer Case
Replacing the battery
DTC P0327, P0328, P0335, P0336, P0340, P0341, P0351, P0352, P0353, P0354,
P0400, P0420